花潮论坛

搜索
热搜: 活动 交友 discuz

[时事新闻] 外卖小哥 我们最熟悉的陌生人

[复制链接]

该用户从未签到

1640

主题

28万

回帖

31万

积分

贵宾

Rank: 7Rank: 7Rank: 7Rank: 7Rank: 7Rank: 7Rank: 7

花潮美女鼠牛虎兔龙蛇马羊猴鸡狗猪春风拂面星星情怀七彩绚丽王者至尊妙笔生花共看流星我心永远幸福快乐指尖上的流年花潮贵宾

 楼主| 发表于 2021-11-1 11:29 | 显示全部楼层
毋问我从哪里来 发表于 2021-11-1 11:28
同时,美团设立了投诉热线反馈通道,即日起外卖员如果遇到被诱导或强迫注册个体工商户的行为,可以直接致 ...



                               
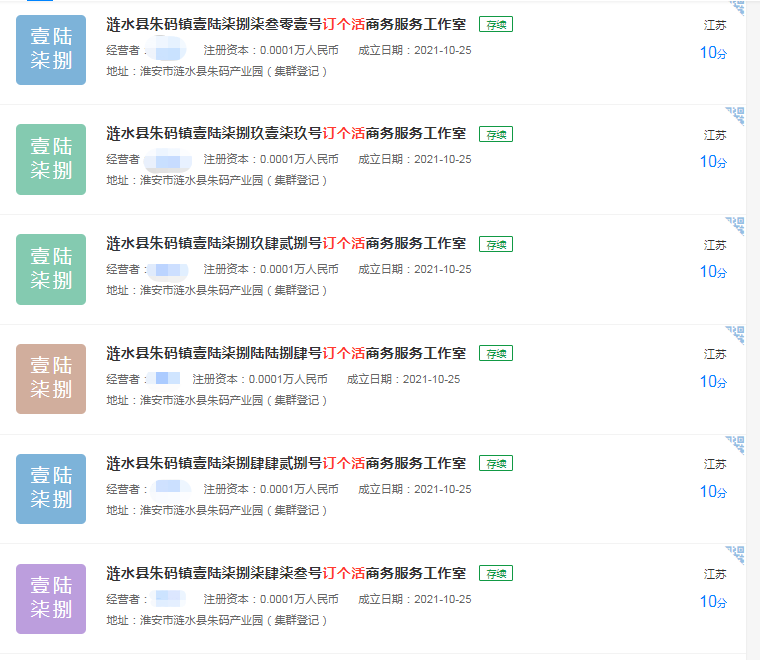
登录/注册后可看大图
10月25日成立的部分个体工商户,截图自天眼查

回复 支持 反对

使用道具 举报

该用户从未签到

1640

主题

28万

回帖

31万

积分

贵宾

Rank: 7Rank: 7Rank: 7Rank: 7Rank: 7Rank: 7Rank: 7

花潮美女鼠牛虎兔龙蛇马羊猴鸡狗猪春风拂面星星情怀七彩绚丽王者至尊妙笔生花共看流星我心永远幸福快乐指尖上的流年花潮贵宾

 楼主| 发表于 2021-11-1 11:29 | 显示全部楼层
毋问我从哪里来 发表于 2021-11-1 11:29
10月25日成立的部分个体工商户,截图自天眼查

以10月25日为例,当天有73家命名为“涟水县朱码镇XXXXXXXX号订个活商务服务工作室”的个体工商户成立,地址均为“淮安市涟水县朱码产业园(集群登记)”,所属行业几乎都为“道路运输业”。
10月28日,红星资本局致电订个活官网公布的客服电话,其客服表示会有专业的业务人员对接,但截至发稿,尚未有任何人联系记者。
张松(化名)曾在订个活的某分公司工作过,他向红星资本局透露,自从发生一些事情后,现在对外卖员注册成个体工商户卡得很紧,“公司可能还有一些名额,但要找到关键人。”

回复 支持 反对

使用道具 举报

该用户从未签到

1640

主题

28万

回帖

31万

积分

贵宾

Rank: 7Rank: 7Rank: 7Rank: 7Rank: 7Rank: 7Rank: 7

花潮美女鼠牛虎兔龙蛇马羊猴鸡狗猪春风拂面星星情怀七彩绚丽王者至尊妙笔生花共看流星我心永远幸福快乐指尖上的流年花潮贵宾

 楼主| 发表于 2021-11-1 11:29 | 显示全部楼层
毋问我从哪里来 发表于 2021-11-1 11:29
以10月25日为例,当天有73家命名为“涟水县朱码镇XXXXXXXX号订个活商务服务工作室”的个体工商户成立,地 ...

不缴社保背后的利益
平台平均能节省约40%的成本
在徐淼看来,灵活用工平台实际上是一个中性的东西,“这就好像造了一辆大巴车,上这辆车的人本来应该是个体工商户,但现在把那些本应是劳动者的人弄到车上去了,这才是问题。”
不仅仅是好活和订个活,事实上,国内最大的灵活用工平台或为上市公司趣活(QH.US)。趣活官网称,其为美团、饿了么、滴滴等平台提供灵活用工解决方案。

回复 支持 反对

使用道具 举报

该用户从未签到

1640

主题

28万

回帖

31万

积分

贵宾

Rank: 7Rank: 7Rank: 7Rank: 7Rank: 7Rank: 7Rank: 7

花潮美女鼠牛虎兔龙蛇马羊猴鸡狗猪春风拂面星星情怀七彩绚丽王者至尊妙笔生花共看流星我心永远幸福快乐指尖上的流年花潮贵宾

 楼主| 发表于 2021-11-1 11:30 | 显示全部楼层
毋问我从哪里来 发表于 2021-11-1 11:29
不缴社保背后的利益平台平均能节省约40%的成本在徐淼看来,灵活用工平台实际上是一个中性的东西,“这就 ...

灵活用工平台的存在对于外卖行业来说到底意味着什么?
在招股书中,趣活曾引用一份报告称,仅就食品按需配送市场以及2018年每笔订单的运营成本而言,其能够为行业客户平均节省约40%的成本。
趣活公布的数据显示,2020年第四季度,趣活平台上平均每月有大约5.45万名活跃的劳动者。
(注:根据趣活的注释,活跃的劳动者指的是在一定时期内,与其建立业务外包关系、加入其保险项目、并在其平台上完成至少一笔交易。)

回复 支持 反对

使用道具 举报

该用户从未签到

1640

主题

28万

回帖

31万

积分

贵宾

Rank: 7Rank: 7Rank: 7Rank: 7Rank: 7Rank: 7Rank: 7

花潮美女鼠牛虎兔龙蛇马羊猴鸡狗猪春风拂面星星情怀七彩绚丽王者至尊妙笔生花共看流星我心永远幸福快乐指尖上的流年花潮贵宾

 楼主| 发表于 2021-11-1 11:30 | 显示全部楼层
毋问我从哪里来 发表于 2021-11-1 11:30
灵活用工平台的存在对于外卖行业来说到底意味着什么?在招股书中,趣活曾引用一份报告称,仅就食品按需配 ...

不过,为行业客户节省了40%成本的趣活却长期处于亏损状态。从2018年-2020年,趣活的净亏损分别是4430万元、1345万元和560万元人民币。
10月28日,红星资本局向趣活的公共关系部邮箱发送采访函,截至发稿尚未得到任何回复。
趣活、好活、订个活等平台是否会为外卖员缴纳社保?
以订个活平台为例,今年5月19日,其宣布平台注册用户突破30万人。不过天眼查APP显示,该平台所属公司——江苏诚淮企业管理有限公司的参保人数仅15人。

回复 支持 反对

使用道具 举报

该用户从未签到

1640

主题

28万

回帖

31万

积分

贵宾

Rank: 7Rank: 7Rank: 7Rank: 7Rank: 7Rank: 7Rank: 7

花潮美女鼠牛虎兔龙蛇马羊猴鸡狗猪春风拂面星星情怀七彩绚丽王者至尊妙笔生花共看流星我心永远幸福快乐指尖上的流年花潮贵宾

 楼主| 发表于 2021-11-1 11:30 | 显示全部楼层
毋问我从哪里来 发表于 2021-11-1 11:30
不过,为行业客户节省了40%成本的趣活却长期处于亏损状态。从2018年-2020年,趣活的净亏损分别是4430万元 ...



                               
登录/注册后可看大图
订个活的业务流程,图据其官网

回复 支持 反对

使用道具 举报

该用户从未签到

1640

主题

28万

回帖

31万

积分

贵宾

Rank: 7Rank: 7Rank: 7Rank: 7Rank: 7Rank: 7Rank: 7

花潮美女鼠牛虎兔龙蛇马羊猴鸡狗猪春风拂面星星情怀七彩绚丽王者至尊妙笔生花共看流星我心永远幸福快乐指尖上的流年花潮贵宾

 楼主| 发表于 2021-11-1 11:31 | 显示全部楼层
毋问我从哪里来 发表于 2021-11-1 11:30
订个活的业务流程,图据其官网

订个活曾在官网公布过业务流程:自然人通过注册订个活转变为个体工商户。企业把相关业务转包给订个活,订个活再转包给这些个体工商户。同时,订个活不仅能通过个体工商户开增值税普通发票用于成本抵扣,还能开具6%增值税专用发票给平台企业。
张松告诉红星资本局,有的流水几千万、在多个城市有站点的大配送商,通过这样的方式每年可以节省几百万元的成本。
“灵工平台主要就是转换用工关系,帮你们去规避社保和降低用工风险,还可以解决你们和进项票的问题。”10月29日,当红星资本局以配送商的身份进行咨询时,某灵活用工平台的负责人说。

回复 支持 反对

使用道具 举报

该用户从未签到

1640

主题

28万

回帖

31万

积分

贵宾

Rank: 7Rank: 7Rank: 7Rank: 7Rank: 7Rank: 7Rank: 7

花潮美女鼠牛虎兔龙蛇马羊猴鸡狗猪春风拂面星星情怀七彩绚丽王者至尊妙笔生花共看流星我心永远幸福快乐指尖上的流年花潮贵宾

 楼主| 发表于 2021-11-1 11:31 | 显示全部楼层
毋问我从哪里来 发表于 2021-11-1 11:31
订个活曾在官网公布过业务流程:自然人通过注册订个活转变为个体工商户。企业把相关业务转包给订个活,订 ...

平台起主导作用且获益最大
专家:理应承担主体责任
公开数据显示,截至2020年,中国外卖市场规模已达到6646.2亿元。在这千亿级市场上,美团和饿了么包揽了90%左右的市场份额,平台上累计外卖员数量超过1000万人。
据此前七部门联合印发的文件,在完善社会保障方面,督促平台及第三方合作单位为建立劳动关系的外卖送餐员参加社会保险,支持其他外卖送餐员参加社会保险,按照国家规定参加平台灵活就业人员职业伤害保障试点。

回复 支持 反对

使用道具 举报

该用户从未签到

1640

主题

28万

回帖

31万

积分

贵宾

Rank: 7Rank: 7Rank: 7Rank: 7Rank: 7Rank: 7Rank: 7

花潮美女鼠牛虎兔龙蛇马羊猴鸡狗猪春风拂面星星情怀七彩绚丽王者至尊妙笔生花共看流星我心永远幸福快乐指尖上的流年花潮贵宾

 楼主| 发表于 2021-11-1 11:31 | 显示全部楼层
毋问我从哪里来 发表于 2021-11-1 11:31
平台起主导作用且获益最大专家:理应承担主体责任公开数据显示,截至2020年,中国外卖市场规模已达到6646 ...

不过,红星资本局发现,即便在美团、饿了么等平台已经通知禁止把外卖员注册为个体工商户的情况下,大量或与此有关的个体工商户并没有注销。
更为关键的是,红星资本局在采访过程中注意到,个别曾经注册过好活、订个活的外卖员尚未意识到自己可能成为个体工商户一事的严重性,处于一种“无所谓”的状态。
以经营者为岳家友的个体工商户“昆山市XX镇XXXXXXX号好活商务服务工作室”为例,其成立于今年3月X日,目前仍处于“存续”状态。

回复 支持 反对

使用道具 举报

该用户从未签到

1640

主题

28万

回帖

31万

积分

贵宾

Rank: 7Rank: 7Rank: 7Rank: 7Rank: 7Rank: 7Rank: 7

花潮美女鼠牛虎兔龙蛇马羊猴鸡狗猪春风拂面星星情怀七彩绚丽王者至尊妙笔生花共看流星我心永远幸福快乐指尖上的流年花潮贵宾

 楼主| 发表于 2021-11-1 11:32 | 显示全部楼层
毋问我从哪里来 发表于 2021-11-1 11:31
不过,红星资本局发现,即便在美团、饿了么等平台已经通知禁止把外卖员注册为个体工商户的情况下,大量或 ...

已经成为个体工商户的外卖员要怎么办?
徐淼告诉红星资本局,一般情况下,他们会建议外卖员直接联系灵活用工平台申请注销。
“不过有外卖员给我们留言说,他打了电话被告知可以注销,但是对方说‘你要继续干的话你就留着,不干的话可以注销’。”徐淼说。
徐淼认为,无论用工模式如何演变,外卖平台企业都在其中起主导作用并从中获得最大利润。

回复 支持 反对

使用道具 举报

该用户从未签到

1640

主题

28万

回帖

31万

积分

贵宾

Rank: 7Rank: 7Rank: 7Rank: 7Rank: 7Rank: 7Rank: 7

花潮美女鼠牛虎兔龙蛇马羊猴鸡狗猪春风拂面星星情怀七彩绚丽王者至尊妙笔生花共看流星我心永远幸福快乐指尖上的流年花潮贵宾

 楼主| 发表于 2021-11-1 11:32 | 显示全部楼层
毋问我从哪里来 发表于 2021-11-1 11:32
已经成为个体工商户的外卖员要怎么办?徐淼告诉红星资本局,一般情况下,他们会建议外卖员直接联系灵活用 ...

根据权责益相统一原则,外卖平台理应承担平台用工模式下的主体责任。
“我想强调一点:同一个平台内是有很多用工模式的,不能把所有外卖员一概而论说成是‘新业态’。有的是非常灵活的,但有的比如专送骑手是不灵活的,这种就应该认定劳动关系。”徐淼对红星资本局说。
红星新闻记者 杨佩雯
编辑 余冬梅

回复 支持 反对

使用道具 举报

该用户从未签到

1640

主题

28万

回帖

31万

积分

贵宾

Rank: 7Rank: 7Rank: 7Rank: 7Rank: 7Rank: 7Rank: 7

花潮美女鼠牛虎兔龙蛇马羊猴鸡狗猪春风拂面星星情怀七彩绚丽王者至尊妙笔生花共看流星我心永远幸福快乐指尖上的流年花潮贵宾

 楼主| 发表于 2021-11-29 21:24 | 显示全部楼层
毋问我从哪里来 发表于 2021-11-1 11:29
不缴社保背后的利益平台平均能节省约40%的成本在徐淼看来,灵活用工平台实际上是一个中性的东西,“这就 ...

盒马配送员“工伤难”背后:众包权益仍难保障

2021年11月27日 07:13 中国经营报


  原标题:盒马配送员“工伤难”背后:众包权益仍难保障
  本报记者 刘旺 北京报道
  盒马配送员在配送路上出现事故,在咨询工伤认证过程中,发现劳动关系已变更,不是曾签订合同的公司。进行劳动仲裁时,甚至发现此前劳务合同上的公章是假的。


回复 支持 反对

使用道具 举报

该用户从未签到

1640

主题

28万

回帖

31万

积分

贵宾

Rank: 7Rank: 7Rank: 7Rank: 7Rank: 7Rank: 7Rank: 7

花潮美女鼠牛虎兔龙蛇马羊猴鸡狗猪春风拂面星星情怀七彩绚丽王者至尊妙笔生花共看流星我心永远幸福快乐指尖上的流年花潮贵宾

 楼主| 发表于 2021-11-29 21:24 | 显示全部楼层
毋问我从哪里来 发表于 2021-11-29 21:24
盒马配送员“工伤难”背后:众包权益仍难保障

2021年11月27日 07:13 中国经营报

  这是发生在盒马配送员王强(化名)身上的事,他告诉《中国经营报》记者,此前有由全职转众包的情况,由于目前劳动关系不能确定,无法进行工伤认定。对于上述情况,记者联系盒马方面进行采访,但对方未予以回应。
  实际上,王强事件背后,是众包配送员劳动关系归属的争议,而这不单单在盒马。记者注意到,包括饿了么、达达等用工平台,均在注册协议中提及与配送员不存在劳动关系。
  这种情况也得到了有关部门的关注,2021年7月,市场监管总局等七部门联合印发《关于落实网络餐饮平台责任切实维护外卖送餐员权益的指导意见》,对保障外卖送餐员的正当权益提出全方位要求。

回复 支持 反对

使用道具 举报

该用户从未签到

1640

主题

28万

回帖

31万

积分

贵宾

Rank: 7Rank: 7Rank: 7Rank: 7Rank: 7Rank: 7Rank: 7

花潮美女鼠牛虎兔龙蛇马羊猴鸡狗猪春风拂面星星情怀七彩绚丽王者至尊妙笔生花共看流星我心永远幸福快乐指尖上的流年花潮贵宾

 楼主| 发表于 2021-11-29 21:26 | 显示全部楼层
毋问我从哪里来 发表于 2021-11-29 21:24
  这是发生在盒马配送员王强(化名)身上的事,他告诉《中国经营报》记者,此前有由全职转众包的情况, ...

  “劳动关系”之争
  记者了解到,王强入职时的劳务合同,是与山东永盛泰达企业管理有限公司(以下简称“山东永盛”)签订的,为全职配送员。而后,王强因个人原因转岗为众包配送员。按照王强的说法,其转岗后并没有与其他公司重新签订劳务合同,也没有与山东永盛签署解除劳动合同的文件。
  记者联系与王强签订合同的山东永盛前工作人员甘泉,对方表示“盒马的配送员是有全职和众包,分属两个不同的派遣公司。王强初来时,与山东永盛签订的全职劳务合同。但后期,其离职了几天,其实就已经与山东永盛终止劳动关系了。再转众包,按道理来说就要与宁波上嘉弘晟物流有限公司(以下简称‘宁波上嘉’)签订劳务合同或者相关协议了。”

回复 支持 反对

使用道具 举报

该用户从未签到

1640

主题

28万

回帖

31万

积分

贵宾

Rank: 7Rank: 7Rank: 7Rank: 7Rank: 7Rank: 7Rank: 7

花潮美女鼠牛虎兔龙蛇马羊猴鸡狗猪春风拂面星星情怀七彩绚丽王者至尊妙笔生花共看流星我心永远幸福快乐指尖上的流年花潮贵宾

 楼主| 发表于 2021-11-29 21:26 | 显示全部楼层
毋问我从哪里来 发表于 2021-11-29 21:24
  这是发生在盒马配送员王强(化名)身上的事,他告诉《中国经营报》记者,此前有由全职转众包的情况, ...

  “劳动关系”之争
  记者了解到,王强入职时的劳务合同,是与山东永盛泰达企业管理有限公司(以下简称“山东永盛”)签订的,为全职配送员。而后,王强因个人原因转岗为众包配送员。按照王强的说法,其转岗后并没有与其他公司重新签订劳务合同,也没有与山东永盛签署解除劳动合同的文件。
  记者联系与王强签订合同的山东永盛前工作人员甘泉,对方表示“盒马的配送员是有全职和众包,分属两个不同的派遣公司。王强初来时,与山东永盛签订的全职劳务合同。但后期,其离职了几天,其实就已经与山东永盛终止劳动关系了。再转众包,按道理来说就要与宁波上嘉弘晟物流有限公司(以下简称‘宁波上嘉’)签订劳务合同或者相关协议了。”

回复 支持 反对

使用道具 举报

该用户从未签到

1640

主题

28万

回帖

31万

积分

贵宾

Rank: 7Rank: 7Rank: 7Rank: 7Rank: 7Rank: 7Rank: 7

花潮美女鼠牛虎兔龙蛇马羊猴鸡狗猪春风拂面星星情怀七彩绚丽王者至尊妙笔生花共看流星我心永远幸福快乐指尖上的流年花潮贵宾

 楼主| 发表于 2021-11-29 21:26 | 显示全部楼层
毋问我从哪里来 发表于 2021-11-29 21:24
  这是发生在盒马配送员王强(化名)身上的事,他告诉《中国经营报》记者,此前有由全职转众包的情况, ...

  “劳动关系”之争
  记者了解到,王强入职时的劳务合同,是与山东永盛泰达企业管理有限公司(以下简称“山东永盛”)签订的,为全职配送员。而后,王强因个人原因转岗为众包配送员。按照王强的说法,其转岗后并没有与其他公司重新签订劳务合同,也没有与山东永盛签署解除劳动合同的文件。
  记者联系与王强签订合同的山东永盛前工作人员甘泉,对方表示“盒马的配送员是有全职和众包,分属两个不同的派遣公司。王强初来时,与山东永盛签订的全职劳务合同。但后期,其离职了几天,其实就已经与山东永盛终止劳动关系了。再转众包,按道理来说就要与宁波上嘉弘晟物流有限公司(以下简称‘宁波上嘉’)签订劳务合同或者相关协议了。”

回复 支持 反对

使用道具 举报

该用户从未签到

1640

主题

28万

回帖

31万

积分

贵宾

Rank: 7Rank: 7Rank: 7Rank: 7Rank: 7Rank: 7Rank: 7

花潮美女鼠牛虎兔龙蛇马羊猴鸡狗猪春风拂面星星情怀七彩绚丽王者至尊妙笔生花共看流星我心永远幸福快乐指尖上的流年花潮贵宾

 楼主| 发表于 2021-11-29 21:26 | 显示全部楼层
毋问我从哪里来 发表于 2021-11-29 21:24
  这是发生在盒马配送员王强(化名)身上的事,他告诉《中国经营报》记者,此前有由全职转众包的情况, ...

  “劳动关系”之争
  记者了解到,王强入职时的劳务合同,是与山东永盛泰达企业管理有限公司(以下简称“山东永盛”)签订的,为全职配送员。而后,王强因个人原因转岗为众包配送员。按照王强的说法,其转岗后并没有与其他公司重新签订劳务合同,也没有与山东永盛签署解除劳动合同的文件。
  记者联系与王强签订合同的山东永盛前工作人员甘泉,对方表示“盒马的配送员是有全职和众包,分属两个不同的派遣公司。王强初来时,与山东永盛签订的全职劳务合同。但后期,其离职了几天,其实就已经与山东永盛终止劳动关系了。再转众包,按道理来说就要与宁波上嘉弘晟物流有限公司(以下简称‘宁波上嘉’)签订劳务合同或者相关协议了。”

回复 支持 反对

使用道具 举报

该用户从未签到

1640

主题

28万

回帖

31万

积分

贵宾

Rank: 7Rank: 7Rank: 7Rank: 7Rank: 7Rank: 7Rank: 7

花潮美女鼠牛虎兔龙蛇马羊猴鸡狗猪春风拂面星星情怀七彩绚丽王者至尊妙笔生花共看流星我心永远幸福快乐指尖上的流年花潮贵宾

 楼主| 发表于 2021-11-29 21:26 | 显示全部楼层
毋问我从哪里来 发表于 2021-11-29 21:24
  这是发生在盒马配送员王强(化名)身上的事,他告诉《中国经营报》记者,此前有由全职转众包的情况, ...

  “劳动关系”之争
  记者了解到,王强入职时的劳务合同,是与山东永盛泰达企业管理有限公司(以下简称“山东永盛”)签订的,为全职配送员。而后,王强因个人原因转岗为众包配送员。按照王强的说法,其转岗后并没有与其他公司重新签订劳务合同,也没有与山东永盛签署解除劳动合同的文件。
  记者联系与王强签订合同的山东永盛前工作人员甘泉,对方表示“盒马的配送员是有全职和众包,分属两个不同的派遣公司。王强初来时,与山东永盛签订的全职劳务合同。但后期,其离职了几天,其实就已经与山东永盛终止劳动关系了。再转众包,按道理来说就要与宁波上嘉弘晟物流有限公司(以下简称‘宁波上嘉’)签订劳务合同或者相关协议了。”

回复 支持 反对

使用道具 举报

该用户从未签到

1640

主题

28万

回帖

31万

积分

贵宾

Rank: 7Rank: 7Rank: 7Rank: 7Rank: 7Rank: 7Rank: 7

花潮美女鼠牛虎兔龙蛇马羊猴鸡狗猪春风拂面星星情怀七彩绚丽王者至尊妙笔生花共看流星我心永远幸福快乐指尖上的流年花潮贵宾

 楼主| 发表于 2021-11-29 21:26 | 显示全部楼层
毋问我从哪里来 发表于 2021-11-29 21:24
  这是发生在盒马配送员王强(化名)身上的事,他告诉《中国经营报》记者,此前有由全职转众包的情况, ...

  “劳动关系”之争
  记者了解到,王强入职时的劳务合同,是与山东永盛泰达企业管理有限公司(以下简称“山东永盛”)签订的,为全职配送员。而后,王强因个人原因转岗为众包配送员。按照王强的说法,其转岗后并没有与其他公司重新签订劳务合同,也没有与山东永盛签署解除劳动合同的文件。
  记者联系与王强签订合同的山东永盛前工作人员甘泉,对方表示“盒马的配送员是有全职和众包,分属两个不同的派遣公司。王强初来时,与山东永盛签订的全职劳务合同。但后期,其离职了几天,其实就已经与山东永盛终止劳动关系了。再转众包,按道理来说就要与宁波上嘉弘晟物流有限公司(以下简称‘宁波上嘉’)签订劳务合同或者相关协议了。”

回复 支持 反对

使用道具 举报

该用户从未签到

1640

主题

28万

回帖

31万

积分

贵宾

Rank: 7Rank: 7Rank: 7Rank: 7Rank: 7Rank: 7Rank: 7

花潮美女鼠牛虎兔龙蛇马羊猴鸡狗猪春风拂面星星情怀七彩绚丽王者至尊妙笔生花共看流星我心永远幸福快乐指尖上的流年花潮贵宾

 楼主| 发表于 2021-11-29 21:26 | 显示全部楼层
毋问我从哪里来 发表于 2021-11-29 21:24
  这是发生在盒马配送员王强(化名)身上的事,他告诉《中国经营报》记者,此前有由全职转众包的情况, ...

  “劳动关系”之争
  记者了解到,王强入职时的劳务合同,是与山东永盛泰达企业管理有限公司(以下简称“山东永盛”)签订的,为全职配送员。而后,王强因个人原因转岗为众包配送员。按照王强的说法,其转岗后并没有与其他公司重新签订劳务合同,也没有与山东永盛签署解除劳动合同的文件。
  记者联系与王强签订合同的山东永盛前工作人员甘泉,对方表示“盒马的配送员是有全职和众包,分属两个不同的派遣公司。王强初来时,与山东永盛签订的全职劳务合同。但后期,其离职了几天,其实就已经与山东永盛终止劳动关系了。再转众包,按道理来说就要与宁波上嘉弘晟物流有限公司(以下简称‘宁波上嘉’)签订劳务合同或者相关协议了。”

回复 支持 反对

使用道具 举报

您需要登录后才可以回帖 登录 | 立即注册

本版积分规则

小黑屋|手机版|Archiver|服务支持:DZ动力|huachaowang.com Inc. ( 蜀ICP备17032287号-1 )

GMT+8, 2025-12-14 23:51 , Processed in 0.078673 second(s), 23 queries .

Powered by Discuz! X3.4

© 2001-2013 Comsenz Inc.

快速回复 返回顶部 返回列表