花潮论坛

搜索
热搜: 活动 交友 discuz

[时事新闻] 莫文蔚公开穿辱华品牌引热议,工作室发文道歉:希望公众原谅

[复制链接]

该用户从未签到

1643

主题

28万

回帖

31万

积分

贵宾

Rank: 7Rank: 7Rank: 7Rank: 7Rank: 7Rank: 7Rank: 7

花潮美女鼠牛虎兔龙蛇马羊猴鸡狗猪春风拂面星星情怀七彩绚丽王者至尊妙笔生花共看流星我心永远幸福快乐指尖上的流年花潮贵宾

 楼主| 发表于 2021-7-8 10:03 | 显示全部楼层
毋问我从哪里来 发表于 2021-7-8 10:02
声明中表示,杨乐乐曾是该公司的股东,但是在2018年杨乐乐就和第三人签订了股权转让协议,并于2018年12月 ...

声明中还称杨乐乐并非该案的被告,杨乐乐在公司期间也并未参与公司的实际经营和管理,在案件发生后,杨乐乐就已经多次催促公司妥善处理此事,因为公司的原因,没有及时处理纠纷,才导致今天的局面。
公司在声明中向杨乐乐表示了歉意,并向大众致歉,承诺将在第一时间履行法院判决。

                               
登录/注册后可看大图

回复 支持 反对

使用道具 举报

该用户从未签到

1643

主题

28万

回帖

31万

积分

贵宾

Rank: 7Rank: 7Rank: 7Rank: 7Rank: 7Rank: 7Rank: 7

花潮美女鼠牛虎兔龙蛇马羊猴鸡狗猪春风拂面星星情怀七彩绚丽王者至尊妙笔生花共看流星我心永远幸福快乐指尖上的流年花潮贵宾

 楼主| 发表于 2021-7-8 10:03 | 显示全部楼层
毋问我从哪里来 发表于 2021-7-8 10:03
声明中还称杨乐乐并非该案的被告,杨乐乐在公司期间也并未参与公司的实际经营和管理,在案件发生后,杨乐 ...

经过查询,杨乐乐确实是在2021年4月15日完成的股东变更,和声明中一致。

                               
登录/注册后可看大图

回复 支持 反对

使用道具 举报

该用户从未签到

1643

主题

28万

回帖

31万

积分

贵宾

Rank: 7Rank: 7Rank: 7Rank: 7Rank: 7Rank: 7Rank: 7

花潮美女鼠牛虎兔龙蛇马羊猴鸡狗猪春风拂面星星情怀七彩绚丽王者至尊妙笔生花共看流星我心永远幸福快乐指尖上的流年花潮贵宾

 楼主| 发表于 2021-7-8 10:03 | 显示全部楼层
毋问我从哪里来 发表于 2021-7-8 10:03
经过查询,杨乐乐确实是在2021年4月15日完成的股东变更,和声明中一致。


                               
登录/注册后可看大图
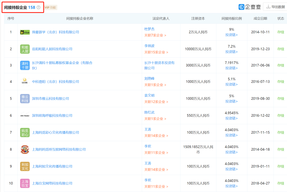
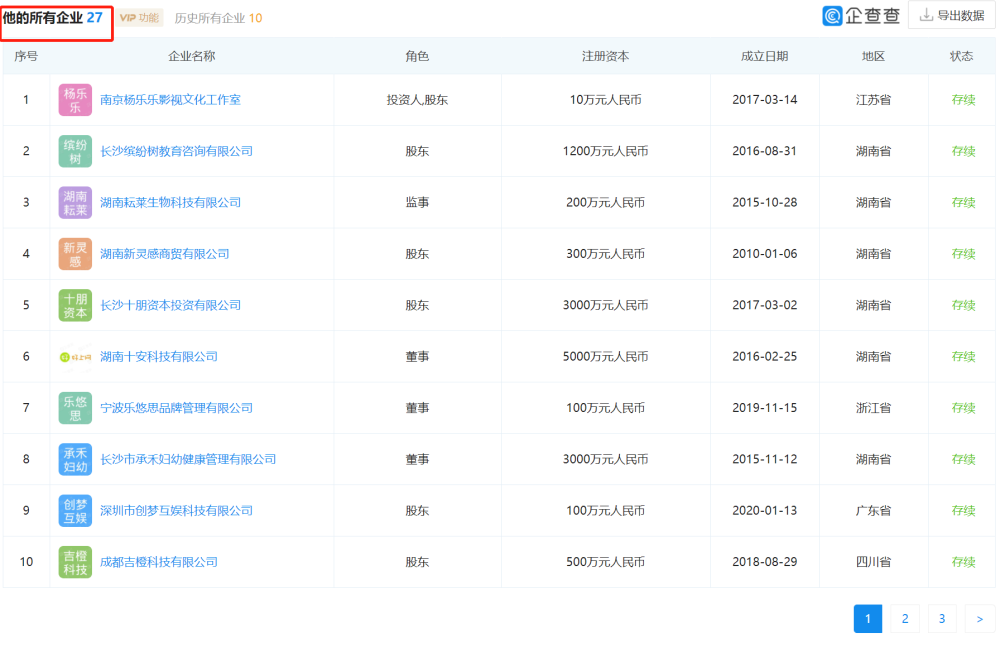
根据查询,杨乐乐在27家企业担任董事或者股东,间接持股的公司高达158家。

回复 支持 反对

使用道具 举报

该用户从未签到

1643

主题

28万

回帖

31万

积分

贵宾

Rank: 7Rank: 7Rank: 7Rank: 7Rank: 7Rank: 7Rank: 7

花潮美女鼠牛虎兔龙蛇马羊猴鸡狗猪春风拂面星星情怀七彩绚丽王者至尊妙笔生花共看流星我心永远幸福快乐指尖上的流年花潮贵宾

 楼主| 发表于 2021-7-8 10:04 | 显示全部楼层
毋问我从哪里来 发表于 2021-7-8 10:03
根据查询,杨乐乐在27家企业担任董事或者股东,间接持股的公司高达158家。


                               
登录/注册后可看大图
杨乐乐关联的公司很多,风险自然也小不了,风险扫描高达236个。

回复 支持 反对

使用道具 举报

该用户从未签到

1643

主题

28万

回帖

31万

积分

贵宾

Rank: 7Rank: 7Rank: 7Rank: 7Rank: 7Rank: 7Rank: 7

花潮美女鼠牛虎兔龙蛇马羊猴鸡狗猪春风拂面星星情怀七彩绚丽王者至尊妙笔生花共看流星我心永远幸福快乐指尖上的流年花潮贵宾

 楼主| 发表于 2021-7-8 19:38 | 显示全部楼层
冲上热搜!音乐人拍电影荧幕发图后致歉 网友:盗摄

2021年07月06日 08:37 中国青年报

  原标题:冲上热搜!音乐人拍电影荧幕发图后致歉,网友:这是盗摄
  5日晚,音乐人乃万道歉冲上热搜!
  原因是她在微博晒出自己在
  电影院拍摄的屏幕live图,
  还配发了自己的照片,
  live图被网友指出是盗摄后
  她将微博删除。

                               
登录/注册后可看大图



回复 支持 反对

使用道具 举报

该用户从未签到

1643

主题

28万

回帖

31万

积分

贵宾

Rank: 7Rank: 7Rank: 7Rank: 7Rank: 7Rank: 7Rank: 7

花潮美女鼠牛虎兔龙蛇马羊猴鸡狗猪春风拂面星星情怀七彩绚丽王者至尊妙笔生花共看流星我心永远幸福快乐指尖上的流年花潮贵宾

 楼主| 发表于 2021-7-8 19:38 | 显示全部楼层
毋问我从哪里来 发表于 2021-7-8 19:38
冲上热搜!音乐人拍电影荧幕发图后致歉 网友:盗摄

2021年07月06日 08:37 中国青年报

  当晚,乃万在道歉中表示,自己看电影拍照并发微博的行为是错误的,被粉丝提醒后已经迅速删除,也非常对不起电影制作者们……

                               
登录/注册后可看大图

  网友:原来这是“盗摄”……

回复 支持 反对

使用道具 举报

该用户从未签到

1643

主题

28万

回帖

31万

积分

贵宾

Rank: 7Rank: 7Rank: 7Rank: 7Rank: 7Rank: 7Rank: 7

花潮美女鼠牛虎兔龙蛇马羊猴鸡狗猪春风拂面星星情怀七彩绚丽王者至尊妙笔生花共看流星我心永远幸福快乐指尖上的流年花潮贵宾

 楼主| 发表于 2021-7-8 19:38 | 显示全部楼层
毋问我从哪里来 发表于 2021-7-8 19:38
  当晚,乃万在道歉中表示,自己看电影拍照并发微博的行为是错误的,被粉丝提醒后已经迅速删除,也非常 ...

  所谓影院盗摄,一般是指对正在放映的电影进行屏摄、盗录的行为。

                               
登录/注册后可看大图

  有人说,很多人都看电影拍照,为什么明星这样做会引发这么大的关注?下面网友回应道,这件事很普通但不代表是对的:

                               
登录/注册后可看大图



回复 支持 反对

使用道具 举报

该用户从未签到

1643

主题

28万

回帖

31万

积分

贵宾

Rank: 7Rank: 7Rank: 7Rank: 7Rank: 7Rank: 7Rank: 7

花潮美女鼠牛虎兔龙蛇马羊猴鸡狗猪春风拂面星星情怀七彩绚丽王者至尊妙笔生花共看流星我心永远幸福快乐指尖上的流年花潮贵宾

 楼主| 发表于 2021-7-8 19:39 | 显示全部楼层
毋问我从哪里来 发表于 2021-7-8 19:38
  所谓影院盗摄,一般是指对正在放映的电影进行屏摄、盗录的行为。
  有人说,很多人都看电影拍照, ...

  在乃万的行为被网友批评后,不少人表示,刚好做个普及:

                               
登录/注册后可看大图


                               
登录/注册后可看大图


                               
登录/注册后可看大图


                               
登录/注册后可看大图


                               
登录/注册后可看大图



回复 支持 反对

使用道具 举报

该用户从未签到

1643

主题

28万

回帖

31万

积分

贵宾

Rank: 7Rank: 7Rank: 7Rank: 7Rank: 7Rank: 7Rank: 7

花潮美女鼠牛虎兔龙蛇马羊猴鸡狗猪春风拂面星星情怀七彩绚丽王者至尊妙笔生花共看流星我心永远幸福快乐指尖上的流年花潮贵宾

 楼主| 发表于 2021-7-8 19:39 | 显示全部楼层
毋问我从哪里来 发表于 2021-7-8 19:39
  在乃万的行为被网友批评后,不少人表示,刚好做个普及:

  律师:拍照无论传播与否都侵权
  据电影频道《今日影评》栏目报道称,盗录电影的灰色产业链,曾一度影响着很多影片的正常市场发行。
  事件发生后,电影频道今日影评官方微博再次转发相关报道。

                               
登录/注册后可看大图



回复 支持 反对

使用道具 举报

该用户从未签到

1643

主题

28万

回帖

31万

积分

贵宾

Rank: 7Rank: 7Rank: 7Rank: 7Rank: 7Rank: 7Rank: 7

花潮美女鼠牛虎兔龙蛇马羊猴鸡狗猪春风拂面星星情怀七彩绚丽王者至尊妙笔生花共看流星我心永远幸福快乐指尖上的流年花潮贵宾

 楼主| 发表于 2021-7-8 19:39 | 显示全部楼层
毋问我从哪里来 发表于 2021-7-8 19:39
  律师:拍照无论传播与否都侵权  据电影频道《今日影评》栏目报道称,盗录电影的灰色产业链,曾一度 ...

  律师指出,在电影院内拍摄电影正片、彩蛋均属盗摄!拍照无论传播与否也都侵权!购买电影票,并不等于拥有盗摄影片的权利,观影仍需恪守底线。
[url=]

                               
登录/注册后可看大图
[/url]




                               
登录/注册后可看大图


回复 支持 反对

使用道具 举报

该用户从未签到

1643

主题

28万

回帖

31万

积分

贵宾

Rank: 7Rank: 7Rank: 7Rank: 7Rank: 7Rank: 7Rank: 7

花潮美女鼠牛虎兔龙蛇马羊猴鸡狗猪春风拂面星星情怀七彩绚丽王者至尊妙笔生花共看流星我心永远幸福快乐指尖上的流年花潮贵宾

 楼主| 发表于 2021-7-8 19:40 | 显示全部楼层
毋问我从哪里来 发表于 2021-7-8 19:39
  律师指出,在电影院内拍摄电影正片、彩蛋均属盗摄!拍照无论传播与否也都侵权!购买电影票,并不等于 ...


                               
登录/注册后可看大图

  来看曾律师(@素或斑斓)完整解读:
  屏摄,顾名思义,指的是在观影过程中的屏摄,也就是录音、录像。

回复 支持 反对

使用道具 举报

该用户从未签到

1643

主题

28万

回帖

31万

积分

贵宾

Rank: 7Rank: 7Rank: 7Rank: 7Rank: 7Rank: 7Rank: 7

花潮美女鼠牛虎兔龙蛇马羊猴鸡狗猪春风拂面星星情怀七彩绚丽王者至尊妙笔生花共看流星我心永远幸福快乐指尖上的流年花潮贵宾

 楼主| 发表于 2021-7-8 19:40 | 显示全部楼层
毋问我从哪里来 发表于 2021-7-8 19:40
  来看曾律师(@素或斑斓)完整解读:  屏摄,顾名思义,指的是在观影过程中的屏摄,也就是录音、 ...

  《电影产业促进法》第31条,未经权利人许可,任何人不得对正在放映的电影进行录音录像。同时,影片著作权及其相关的权利,还受到《民法典》、《著作权法》、《刑法》等法律的保护。
  虽然现有法律条文对于“放映”暂没有明确的界定,但我们认为,从龙标之后到电影放映结束影院亮灯的时间都属于“放映”,不应屏摄。
  有观众认为,拍照不是法律中所说的“录像”。但是录像的含义,是指用光学、电磁等方法把图像记录下来,最终呈现形式是“图像”或“图像+伴音”。此外,目前主流的摄影功能手机,为了突破感光单元和镜头进光量的物理缺陷,往往采用拍摄多张照片通过“堆栈”方式获得一张效果最优照片。某些品牌手机,进入摄影功能后,并不需要用户按下拍摄键,就在后台暗中运行录像,以确保不错过潜在拍摄机会。换言之,对于手机而言,拍照和录像功能的区分越发模糊。因此,我们认为,拍照是属于“录像”的范畴。
  还有观众认为,在电影放映中,普通的拍照或者录一段视频,并没有进行营利性的传播,仅仅是分享在社交网络或者自己保存,并没有给片方带来明显的损失,甚或是在给影片宣传呢!首先,法律有明确的禁止性规定,法有禁止则不可为。其次,关键场景/关键信息,往往一张静态图片或者台词的片段,就足以造成破坏性的泄露。如果想分享影片内容到社交媒体,建议使用官方发布的海报、剧照、片花,或者影院展出的海报,同时也不会因举起手机屏摄,而影响其他观众的观影体验。
  你也遇到过类似行为吗?
  中国青年报(ID:zqbcyol 整理:张小松)综合。

回复 支持 反对

使用道具 举报

该用户从未签到

1643

主题

28万

回帖

31万

积分

贵宾

Rank: 7Rank: 7Rank: 7Rank: 7Rank: 7Rank: 7Rank: 7

花潮美女鼠牛虎兔龙蛇马羊猴鸡狗猪春风拂面星星情怀七彩绚丽王者至尊妙笔生花共看流星我心永远幸福快乐指尖上的流年花潮贵宾

 楼主| 发表于 2021-7-8 23:14 | 显示全部楼层
释放布兰妮:一场漫长的斗争

2021年07月07日 12:07 新京报

  原标题:释放布兰妮:一场漫长的斗争
  近日,“小甜甜”布兰妮·斯皮尔斯再次出现在公众视野,起因是她请求法院解除父亲杰米·斯皮尔斯对自己的永久监护权。同时,在社交网络上,由布兰妮粉丝发起的“释放布兰妮”运动已进行多年。本文系统梳理了国内外多家媒体以及相关领域专家的各方观点。
  文/肖舒妍

回复 支持 反对

使用道具 举报

该用户从未签到

1643

主题

28万

回帖

31万

积分

贵宾

Rank: 7Rank: 7Rank: 7Rank: 7Rank: 7Rank: 7Rank: 7

花潮美女鼠牛虎兔龙蛇马羊猴鸡狗猪春风拂面星星情怀七彩绚丽王者至尊妙笔生花共看流星我心永远幸福快乐指尖上的流年花潮贵宾

 楼主| 发表于 2021-7-8 23:15 | 显示全部楼层
毋问我从哪里来 发表于 2021-7-8 23:14
释放布兰妮:一场漫长的斗争

2021年07月07日 12:07 新京报

  近日,在世纪之初风靡全球、一时风头无两的女星“小甜甜”布兰妮·斯皮尔斯再次出现在公众视野。但这一次,不是因为她让万人空巷的全球巡演,不是因为她热销3000万张的个人专辑,而是因为她请求法院解除父亲杰米·斯皮尔斯对自己的永久监护权。

                               
登录/注册后可看大图
▲“小甜甜”布兰妮·斯皮尔斯。


回复 支持 反对

使用道具 举报

该用户从未签到

1643

主题

28万

回帖

31万

积分

贵宾

Rank: 7Rank: 7Rank: 7Rank: 7Rank: 7Rank: 7Rank: 7

花潮美女鼠牛虎兔龙蛇马羊猴鸡狗猪春风拂面星星情怀七彩绚丽王者至尊妙笔生花共看流星我心永远幸福快乐指尖上的流年花潮贵宾

 楼主| 发表于 2021-7-8 23:15 | 显示全部楼层
毋问我从哪里来 发表于 2021-7-8 23:15
  近日,在世纪之初风靡全球、一时风头无两的女星“小甜甜”布兰妮·斯皮尔斯再次出现在公众视野。但这 ...

  在6月23日的庭审中,布兰妮通过语音连线,向法官讲述了过去13年中,自己遭受父亲及其工作团队的虐待,具体内容包括被迫长时间、高强度工作,接受非自愿并有较大副作用的精神治疗,安置节育环以致她无法再次怀孕。此外,处于监护状态下的她,完全丧失了对自己财产的使用权利,连简单的度假、美甲、按摩等需求都无法得到父亲批准,“在加州,只有被关起来的性工作者才这么惨——信用卡、现金、手机、护照全部被收走。”
  在通话的最后,布兰妮说道:“我希望我能一直和你聊下去。我生怕一挂掉电话,就会立刻回到被人全盘否定的状态。我觉得自己被排挤、被欺负、被冷落……我受够了这种孤独的状态。我值得拥有和任何人一样的权利,我也想有孩子、有家庭、有自己的人生……”

回复 支持 反对

使用道具 举报

该用户从未签到

1643

主题

28万

回帖

31万

积分

贵宾

Rank: 7Rank: 7Rank: 7Rank: 7Rank: 7Rank: 7Rank: 7

花潮美女鼠牛虎兔龙蛇马羊猴鸡狗猪春风拂面星星情怀七彩绚丽王者至尊妙笔生花共看流星我心永远幸福快乐指尖上的流年花潮贵宾

 楼主| 发表于 2021-7-8 23:15 | 显示全部楼层
毋问我从哪里来 发表于 2021-7-8 23:15
  在6月23日的庭审中,布兰妮通过语音连线,向法官讲述了过去13年中,自己遭受父亲及其工作团队的虐待 ...

  2008年,布兰妮因使用精神类药物而被强制送往精神医疗中心治疗。之后,她的父亲杰米向法院申请,成为了布兰妮的“永久监护人(Conservator)”。根据美国法律,“监护(Conservatorship)”是一种将个体的个人、经济和法律决策权转让给他人的机制。对于因年老痴呆、身体或精神缺陷而无法自主作出决定的成年人,法院可以任命一位法定监护人,负责监督他的日常活动,如医疗保健或生活安排,并对它的财务事务进行托管。
  此后13年,布兰妮便一直处于被父亲“监护”的状态之下。尽管在此期间,她发行了4张专辑,其中2张成为白金唱片(在美国,专辑销量超过100万张即可被认证为“白金唱片”),并在2018年进行了全球巡回演出,但法院仍判定,“她的精神状态无法自主作出明智的决定”。

回复 支持 反对

使用道具 举报

该用户从未签到

1643

主题

28万

回帖

31万

积分

贵宾

Rank: 7Rank: 7Rank: 7Rank: 7Rank: 7Rank: 7Rank: 7

花潮美女鼠牛虎兔龙蛇马羊猴鸡狗猪春风拂面星星情怀七彩绚丽王者至尊妙笔生花共看流星我心永远幸福快乐指尖上的流年花潮贵宾

 楼主| 发表于 2021-7-8 23:15 | 显示全部楼层
毋问我从哪里来 发表于 2021-7-8 23:15
  2008年,布兰妮因使用精神类药物而被强制送往精神医疗中心治疗。之后,她的父亲杰米向法院申请,成为 ...

  在社交网络上,由布兰妮粉丝发起的“释放布兰妮(Free Britney)”运动已进行多年。自2020年起,布兰妮本人也试图通过法律途径摆脱被父亲监护的状态。
  而这一次,布兰妮本人通过连线出庭,声泪俱下地讲述了自己这13年的遭遇。这不仅牵动了成千上万关注她的粉丝的心,也让更多粉丝之外的法律研究者、妇女权利保护者乃至美国国会议员开始反思“监护人”制度的正当性。

回复 支持 反对

使用道具 举报

该用户从未签到

1643

主题

28万

回帖

31万

积分

贵宾

Rank: 7Rank: 7Rank: 7Rank: 7Rank: 7Rank: 7Rank: 7

花潮美女鼠牛虎兔龙蛇马羊猴鸡狗猪春风拂面星星情怀七彩绚丽王者至尊妙笔生花共看流星我心永远幸福快乐指尖上的流年花潮贵宾

 楼主| 发表于 2021-7-8 23:16 | 显示全部楼层
毋问我从哪里来 发表于 2021-7-8 23:15
  在社交网络上,由布兰妮粉丝发起的“释放布兰妮(Free Britney)”运动已进行多年。自2020年起,布兰 ...

  同时,布兰妮的遭遇也引发了不少好莱坞工作者的共情。在他们看来,是娱乐圈长期盛行的厌女风气,加之狗仔娱记和大众审视的步步紧逼,共同造成了布兰妮的悲剧。
  为什么身为成年人、具有基本工作能力的布兰妮还要被“监护”?是什么让她被判定为“精神失常”,被媒体和舆论塑造为一个“疯女人”?谁该为布兰妮的悲剧负责?本文系统梳理了国内外多家媒体以及相关领域专家的各方观点。

回复 支持 反对

使用道具 举报

该用户从未签到

1643

主题

28万

回帖

31万

积分

贵宾

Rank: 7Rank: 7Rank: 7Rank: 7Rank: 7Rank: 7Rank: 7

花潮美女鼠牛虎兔龙蛇马羊猴鸡狗猪春风拂面星星情怀七彩绚丽王者至尊妙笔生花共看流星我心永远幸福快乐指尖上的流年花潮贵宾

 楼主| 发表于 2021-7-8 23:16 | 显示全部楼层
毋问我从哪里来 发表于 2021-7-8 23:16
  同时,布兰妮的遭遇也引发了不少好莱坞工作者的共情。在他们看来,是娱乐圈长期盛行的厌女风气,加之 ...

  备受争议的监护权:是保护还是虐待?
  “如果我能工作、赚钱、还能付钱给别人,我就不应该被监护,”在6月23日的庭审中,布兰妮提出了这一观点,“这毫无意义。法律需要改变。”
  最初,布兰妮是如何“陷入”监护之中的?
  2007年,布兰妮的状态一度滑入低谷。饱受舆论压力的她先是在一家理发店公开剃光了自己的头发,对着镜头大喊“我受够了别人不停碰我!”紧接着又陷入了和前夫凯文·费德勒争夺两个孩子抚养权的官司。她失去了孩子的独立抚养权,仅获得探视权。在一次探望孩子却被前夫拒之门外之后,面对狗仔的长枪短炮和不断追问,布兰妮情绪崩溃,举起一把雨伞企图赶走狗仔,却被狗仔拍下了她失控的状态,放上杂志封面。一时间,布兰妮“陷入疯癫”、成为“疯女人”的传闻便不绝于耳。

回复 支持 反对

使用道具 举报

该用户从未签到

1643

主题

28万

回帖

31万

积分

贵宾

Rank: 7Rank: 7Rank: 7Rank: 7Rank: 7Rank: 7Rank: 7

花潮美女鼠牛虎兔龙蛇马羊猴鸡狗猪春风拂面星星情怀七彩绚丽王者至尊妙笔生花共看流星我心永远幸福快乐指尖上的流年花潮贵宾

 楼主| 发表于 2021-7-8 23:17 | 显示全部楼层
毋问我从哪里来 发表于 2021-7-8 23:16
  备受争议的监护权:是保护还是虐待?  “如果我能工作、赚钱、还能付钱给别人,我就不应该被监护, ...


                               
登录/注册后可看大图
▲2007年2月,布兰妮情绪失控之后,在理发店公开剃光了自己的头发。
回复 支持 反对

使用道具 举报

您需要登录后才可以回帖 登录 | 立即注册

本版积分规则

小黑屋|手机版|Archiver|服务支持:DZ动力|huachaowang.com Inc. ( 蜀ICP备17032287号-1 )

GMT+8, 2025-12-16 18:16 , Processed in 0.084918 second(s), 28 queries .

Powered by Discuz! X3.4

© 2001-2013 Comsenz Inc.

快速回复 返回顶部 返回列表